
七五煤业机运工区党支部qiwumeiyejiyungongqudangzhibu

机运工区党支部

高压开关柜巡检
![]()
煤炭企业“五小”创新成果简介提纲
(一) 矿井提升机轴端测速机编码器组合装置
1、成果名称
“一种矿井提升机轴端测速机编码器组合装置”适用于煤矿矿井提升设备技术领域。
2、成果特点
自制加工制作,增加了测速机、编码器等速度、位置反馈装置,使电控系统能够更精确的控制提升机运行状态,实现安全生产的目标。
3、适用条件
应用环境:矿山机房室内安装。
应用条件:使用时必须与主轴联结。
应用范围:适用于煤矿提升机电控系统的闭环控制,作为控制提升机运行的关键设计,在整个提升系统中占至关重要的作用。
4、成果内容
(1)基本原理
主轴的转动通过传动轴传递至编码器的转轴,使编码器得到与主轴同步的转速信号,通过大齿轮与小齿轮的相互啮合传动,使得测速机得到经过一定比例加速的转速信号,测速机将转速信号反馈给电控系统,形成闭环控制,从而保证提升系统的速度、位置精度;
(2)关键技术
安装过程中,通过腰型孔调节编码器、测速机的同轴度,从而降低轴向力、减少磨损,以保证使用寿命和可靠性。

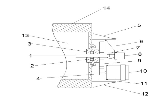
图中:1、传动轴,2、轴承,3、端盖,4、小齿轮,5、第一支撑组件,6、第二支撑组件,7、弹性联轴器,8、编码器,9、大齿轮,10、测速机,11、第三支撑组件,12、第四支撑组件,13、主轴,14、轴座。
(3)工艺流程
如图所示,编码器8固定在第二支撑组件6上,第二支撑组件6与第一支撑组件5连接,编码器8的转轴通过弹性联轴器7与传动轴1连接,大齿轮9与传动轴1键连接,测速机10与第三支撑组件11连接固定,第三支撑组件11与第四支撑组件12连接,测速机10的转轴与小齿轮4键连接,小齿轮4与大齿轮9啮合,传动轴1在远离编码器8一端嵌套有端盖3,端盖3内嵌有轴承2,轴承2与传动轴1过盈配合,大齿轮9与传动轴1过盈配合,小齿轮4与测速机10的转轴过盈配合,第二支撑组件6与第一支撑组件5之间和第三支撑组件11与第四支撑组件12之间均采用腰型孔螺钉固定。
5、主要涉及指标及应用前后指标对比
主要经济技术效益指标
(1)成果使用前相关指标值
原提升系统利用摩擦轮胶套与主导轮制动盘內圆的摩擦力带动测速发电机旋转,由于摩擦轮转动时摩擦力不均,传动机构颤动,经常出现输出电压不稳,造成输出偏差超出范围,致使控制系统误动作,绞车无规律自停,对乘坐人员,罐笼悬挂装置、钢丝绳、盘型闸等造成伤害,威胁矿井安全。
(2)主要涉及成果指标及指标值
使用该成果后,电控系统可以得到精确的速度、位置信号,不会出现因输出电压不稳致使控制系统误动作,绞车紧急制动,对钢丝绳、罐笼悬挂装置、盘型闸等伤害程度降到最低,延长了设备使用周期,节约了更换费用。
6、先进性及创新性
使用本组合装置后,测速机、编码器可以保证很高的同轴度和同步性,从而得到精确的速度、位置信号。此次改造,提高了系统运行的稳定性和安全性。
7、成果的运行成本
本提升机轴端测速机编码器组合装置,可以保证很高的同轴度和同步性,从而得到精确的速度、位置信号;结构设计合理,改造费用低。
8、应用效果评价及推广前景
本提升机轴端测速机编码器组合装置,能够满足各种类型提升机的改造需求,并且改造费用低、维护简单、方便,可靠性高。
9、其他相关情况
本成果已经申请实用新型专利,可在结构形状方面进行延伸,可以根据实际情况进行推广选用。